登录
输入用户名密码点击登录,进入系统主页。
运行报表

* 批量日期 显示当日跑批日期* 任务数量 显示日终任务总数量* 成功任务数 显示当日跑批已成功运行数* 失败任务 显示当日跑批失败任务* 运行中任务 显示当日正在运行的任务。按法人触发任务,所有任务执行成功才算成功。* 准备中任务 显示已被父触发任务,因为依赖任务未执行完成。
任务配置

* 前台无新增任务功能:新增任务是直接操作数据库来实现。* 启动任务 每日启动日终任务。注意批前批后日期。* 重跑 当出现任务执行失败后,再次运行任务。* 暂停 点击暂停后,调度中心不再触发新任务。注意,已经运行中任务不会停止运行。* 继续 首先点击暂停后,让调度中心能够再次触发新任务。* 跳过 当任务执行失败后,若任务对后续任务无关联,且当日任务不执行不影响什么,延后解决问题,可以通过 跳过功能继续执行后面日终任务。
时序差异
用来比较2次日终任务时序修改,展示修改差异。

运行时序:
展示整个日终任务运行情况。

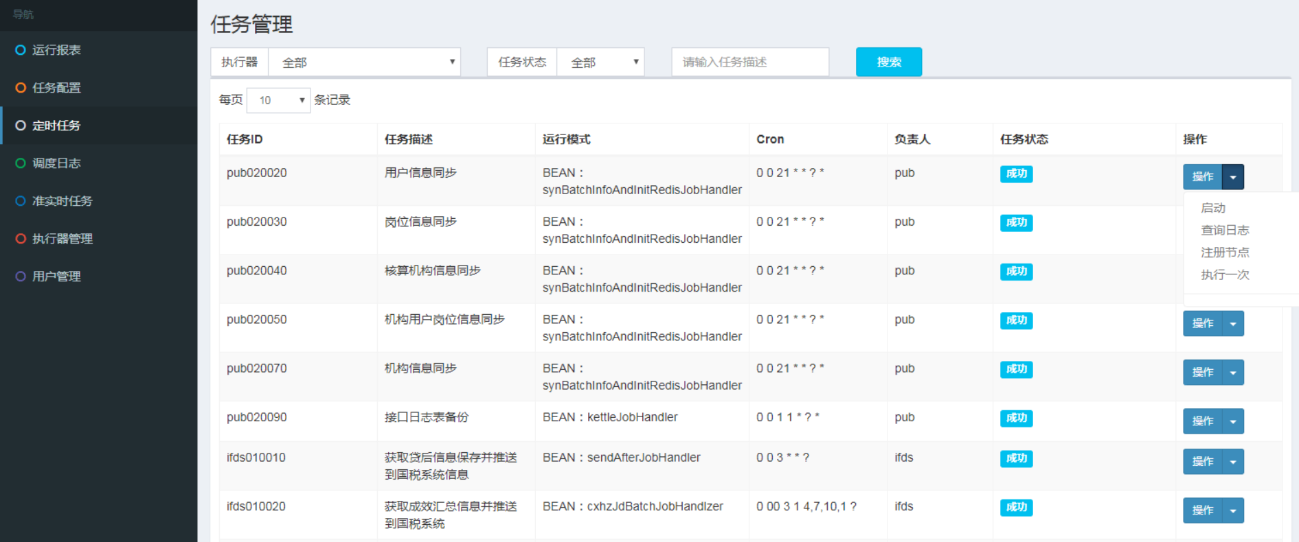
定时任务

* 无新增定时任务功能 直接操作数据新增任务。* 启动 配置定时任务后用来启动定时任务。* 查询日志 查看定时任务运行日志。* 注册节点 显示当前定时任务绑定执行器IP地址。* 执行一次 立即触发任务一次。通常用来测试时使用。
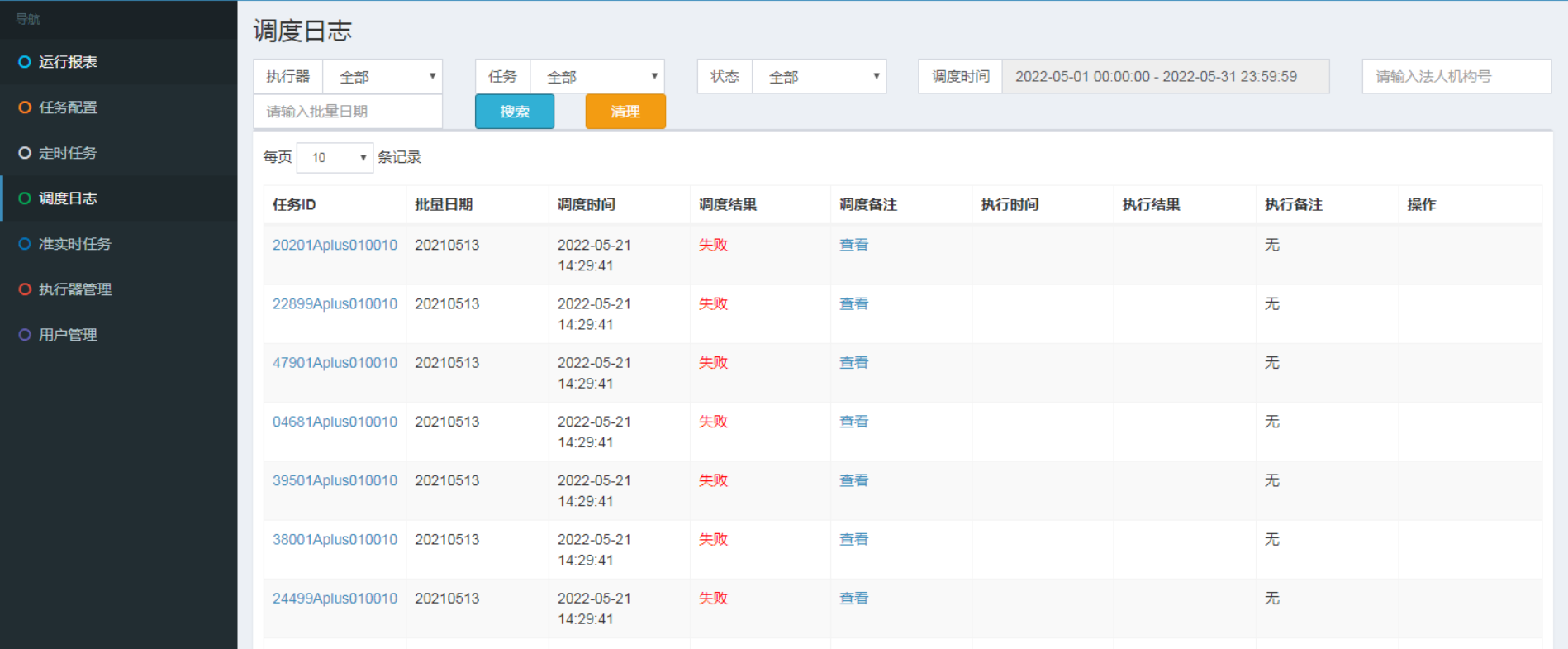
调度日志

* 调度结果 用于显示调度中远程调用任务是否成功。* 调度备注 用于显示调度远程执行器信息。* 执行结果 用于显示执行器执行任务是否成功。
准时任务

* 用于查询各个执行器(即子系统)准实时任务信息。* 操作 对于执行失败任务,可修改状态,再次触发。
执行器管理
用于新增执行器信息。

新增执行器
AppName: 是每个执行器集群的唯一标示AppName, 执行器会周期性以AppName为对象进行自动注册。可通过该配置自动发现注册成功的执行器, 供任务调度时使用;
名称: 执行器的名称, 因为AppName限制字母数字等组成,可读性不强, 名称为了提高执行器的可读性;
排序: 执行器的排序, 系统中需要执行器的地方,如任务新增, 将会按照该排序读取可用的执行器列表;
注册方式:调度中心获取执行器地址的方式;
自动注册:执行器自动进行执行器注册,调度中心通过底层注册表可以动态发现执行器机器地址;
手动录入:人工手动录入执行器的地址信息,多地址逗号分隔,供调度中心使用; 机器地址:”注册方式”为”手动录入”时有效,支持人工维护执行器的地址信息;
用户管理
用于新增调度中心用户。

新增用户
普通用户,运维用户。按执行器分配权限。因此,任务只能展示所有执行器关联的任务。
菜单

任务配置功能

